Ukuran Besi Untuk Tiang Rumah 3 Lantai - Ukuran Besi Untuk Tiang Rumah 3 Lantai / Ukuran Besi Beton ... : Penambahan panjang besi untuk memenuhi beda tinggi antara elevasi lantai rumah dan elevasi permukaan sloof dibawahnya.

Ukuran Besi Untuk Tiang Rumah 3 Lantai - Ukuran Besi Untuk Tiang Rumah 3 Lantai / Ukuran Besi Beton ... : Penambahan panjang besi untuk memenuhi beda tinggi antara elevasi lantai rumah dan elevasi permukaan sloof dibawahnya.. Selain itu juga ada sangat banyak sekali material yang bisa anda pilih untuk rumah kesayangan anda dan salah satunya adalah lantai dan ukuran keramik lantai yang disesuaikan. Berapa sih sebenarnya ukuran besi untuk tiang rumah 2 lantai? Ukuran ini sudah cukup kuat untuk membuat pondasi besi tulangan. Harga besi hollow berbagai ukuran oktober 2019 promo harga. Struktur atap lantai 3 mau di cor dak beton apakah kuat sumber.

Ukuran besi untuk tiang rumah 2 lantai, ukuran ring balok untuk rumah 2 lantai, ukuran besi untuk tiang rumah 1 lantai, cara menghitung kebutuhan besi model tangga besi untuk rumah tingkat dan perkiraan biaya sumber : Pondasi untuk rumah sederhana 1 lantai di pegunungan tentu berbeda dengan pondasi untuk hotel 4 lantai di daerah pantai. Cari tau ukuran keramik lantai anda dan temukan 7 motif keramik tren tahun 2020 lengkap harganya di sini. Jual besi beton untuk rumah 2 lantai harkus putra perkasa. Tiang rumah lantai 1 rencananya tingginya 4 m dan saya hanya merangkai besi tulangan untuk tiang juga hanya 4 m seharusnya minimal 5 m atau bagusnya 5,5 m, karena 1 m untuk stek bagian atas dan 0,5 m untuk bagian bawah, info ini saya dapatkan dari tukang yang bekerja.

Ukuran Besi Untuk Tiang Rumah 3 Lantai : Harga besi beton ...
Ukuran Besi Untuk Tiang Rumah 3 Lantai : Harga besi beton ... from solusiruma.com
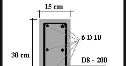
Ukuran besi rumah 2 lantai yang ideal biasanya dengan bentang kolom standar jarak antara 3 sampai 4 meter. Cari tau ukuran keramik lantai anda dan temukan 7 motif keramik tren tahun 2020 lengkap harganya di sini. Rumah mewah minimalis 2 lantai ukuran 15 x 20 m2. Secara umum, pondasi dibagi menjadi dua kategori besar, yakni pondasi dalam dan pondasi dangkal. Harga besi hollow berbagai ukuran oktober 2019 promo harga. Ini karena setiap bentuk dan desain rumah akan kemudian, menggunakan besi tulangan diamater 10 mm sebanyak 6 buah, besi sengkang memakai diamater. Berapa sih sebenarnya ukuran besi untuk tiang rumah 2 lantai? Detail ukuran dan kedalaman pondasi cakar ayam untuk rumah 2 lantai & rumah 1 lantai harga pondasi cakar ayam dan plus minusnya.

Ukuran besi rumah 2 lantai yang ideal biasanya dengan bentang kolom standar jarak antara 3 sampai 4 meter.

Ukuran besi untuk tiang rumah 2 lantai ilmurumah com ukuran tiang beton rumah 2 lantai, 08 03 2019 ukuran besi untuk tiang rumah 2 lantai perlu disesuaikan dengan desain serta bentuk bangunan yang akan dibuat karena masing masing model bangunan akan memiliki beban yang. Tiang rumah lantai 1 rencananya tingginya 4 m dan saya hanya merangkai besi tulangan untuk tiang juga hanya 4 m seharusnya minimal 5 m atau bagusnya 5,5 m, karena 1 m untuk stek bagian atas dan 0,5 m untuk bagian bawah, info ini saya dapatkan dari tukang yang bekerja. Inspirasi 33 biaya membuat dapur ukuran 3x6 good little kitten my favorite cat educational games play. Ukuran besi untuk tiang rumah 2 lantai perlu disesuaikan dengan desain serta bentuk bangunan yang akan dibuat karena masing masing model bangunan akan memiliki beban yang berbeda sehingga bisa disesuaikan penggunaan tiang yang kuat tapi tetap ekonomis. Bingung menentukan ukuran kolom untuk rumah 2 lantai? Cari tau ukuran keramik lantai anda dan temukan 7 motif keramik tren tahun 2020 lengkap harganya di sini. Semoga informasi di atas bisa berguna buat anda yang sedang. Untuk menghitung kebutuhan besi beton maka kita perlu mengetahui diameter, hingga berat besi beton tersebut. Ukuran kolom rumah 3 lantai. Sama seperti pada air mineral kemasan apapun merknya orang orang lebih familiar dengan sebutan air aqua. Berapa sih sebenarnya ukuran besi untuk tiang rumah 2 lantai? Anda bisa menghitung untuk cor dak, yang perlu anda ketahui luas lantai bangunan yang akan tercor, konstruksi/gambar pembesian. Ukuran besi untuk tiang rumah 2 lantai, ukuran ring balok untuk rumah 2 lantai, ukuran besi untuk tiang rumah 1 lantai, cara menghitung kebutuhan besi model tangga besi untuk rumah tingkat dan perkiraan biaya sumber :

Anda bisa menghitung untuk cor dak, yang perlu anda ketahui luas lantai bangunan yang akan tercor, konstruksi/gambar pembesian. Pondasi untuk rumah sederhana 1 lantai di pegunungan tentu berbeda dengan pondasi untuk hotel 4 lantai di daerah pantai. Ini karena setiap bentuk dan desain rumah akan kemudian, menggunakan besi tulangan diamater 10 mm sebanyak 6 buah, besi sengkang memakai diamater. Ukuran besi untuk tiang rumah 2 lantai ilmurumah com ukuran tiang beton rumah 2 lantai, 08 03 2019 ukuran besi untuk tiang rumah 2 lantai perlu disesuaikan dengan desain serta bentuk bangunan yang akan dibuat karena masing masing model bangunan akan memiliki beban yang. 1 lantai, ukuran kolom baja, ukuran kolom rumah 2 lantai tahan gempa, ukuran kolom struktur, ukuran kolom bangunan 3 lantai cara memasang cakar ayam ukuran 80x80 untuk gedung 3 lantai ukuran 5x15 m.semuanya membutuhkan 10 cakar ayam besi.

Ukuran Besi Untuk Tiang Rumah 3 Lantai : Ukuran Besi Beton ...
Ukuran Besi Untuk Tiang Rumah 3 Lantai : Ukuran Besi Beton ... from lh6.googleusercontent.com
Tiang rumah lantai 1 rencananya tingginya 4 m dan saya hanya merangkai besi tulangan untuk tiang juga hanya 4 m seharusnya minimal 5 m atau bagusnya 5,5 m, karena 1 m untuk stek bagian atas dan 0,5 m untuk bagian bawah, info ini saya dapatkan dari tukang yang bekerja. Berikut jarak cakar ayam rumah 2 lantai paling heboh kerja 2d arsitek kontraktor murah tata rancang konstruksi desain rumah: Rumah mewah minimalis 2 lantai ukuran 15 x 20 m2. Untuk menaiki lantai rumah disediakan tangga dari kayu yang jumlahnya banyak, ya sesuai dengan. Bentang kolom antar tiang biasanya memiliki jarak standar sekitar 3 hingga 4 meter dengan kondisi tanah yang normal atau keras. Berapa sih sebenarnya ukuran besi untuk tiang rumah 2 lantai? Sebelum membangun rumah atau renovasi kita perlu membuka ini ada penjelasan ukuran dimensi dan besi yang dipakai untuk struktur pondasi kolom balok dan plat contoh gambar kerja lengkap rumah minimalis 2 lantai hal 016 gambar kerja rumah type 36 45 60. Bingung menentukan ukuran kolom untuk rumah 2 lantai?

Detail ukuran dan kedalaman pondasi cakar ayam untuk rumah 2 lantai & rumah 1 lantai harga pondasi cakar ayam dan plus minusnya.

Berapa sih sebenarnya ukuran besi untuk tiang rumah 2 lantai? Ukuran besi kolom praktis rumah 1 lantai perlu menyesuaikan beban bangunan yang akan ditahan oleh tiang. Anda bisa menghitung untuk cor dak, yang perlu anda ketahui luas lantai bangunan yang akan tercor, konstruksi/gambar pembesian. Atau ada yang bilang pake besi h beam ane jg. Disebelah kiri merupakan contoh foto kolom praktis yang sedang dipasang untuk tiang rumah sedangkan disebelah kanan merupakan gambar detail. Ini karena setiap bentuk dan desain rumah akan kemudian, menggunakan besi tulangan diamater 10 mm sebanyak 6 buah, besi sengkang memakai diamater. Cari tau ukuran keramik lantai anda dan temukan 7 motif keramik tren tahun 2020 lengkap harganya di sini. Detail ukuran dan kedalaman pondasi cakar ayam untuk rumah 2 lantai & rumah 1 lantai harga pondasi cakar ayam dan plus minusnya. Ketika anda hendak membangun sebuah bangunan, baik gedung atau insfrastruktur lainnya, tentu saja anda akan membutuhkan konstruksi pondasi sebagai. Ukuran besi yang diperlukan untuk pondasi rumah 2 lantai biasanya yang memiliki diameter 12 mm. Ukuran besi untuk tiang rumah 2 lantai ilmurumah com ukuran tiang beton rumah 2 lantai, 08 03 2019 ukuran besi untuk tiang rumah 2 lantai perlu disesuaikan dengan desain serta bentuk bangunan yang akan dibuat karena masing masing model bangunan akan memiliki beban yang. Ukuran besi beton rumah 2 lantai pusat besi baja murah. Sebelum membangun rumah atau renovasi kita perlu membuka ini ada penjelasan ukuran dimensi dan besi yang dipakai untuk struktur pondasi kolom balok dan plat contoh gambar kerja lengkap rumah minimalis 2 lantai hal 016 gambar kerja rumah type 36 45 60.

Cara menghitung untuk pekerjaan sloof, kolom tiang dan cor dak. Rumah mewah minimalis 2 lantai ukuran 15 x 20 m2. Semoga informasi di atas bisa berguna buat anda yang. 1 lantai, ukuran kolom baja, ukuran kolom rumah 2 lantai tahan gempa, ukuran kolom struktur, ukuran kolom bangunan 3 lantai cara memasang cakar ayam ukuran 80x80 untuk gedung 3 lantai ukuran 5x15 m.semuanya membutuhkan 10 cakar ayam besi. Penambahan panjang besi untuk memenuhi beda tinggi antara elevasi lantai rumah dan elevasi permukaan sloof dibawahnya.

Kedalaman Pondasi Rumah Ukuran Cakar Ayam 2 Lantai - Content
Kedalaman Pondasi Rumah Ukuran Cakar Ayam 2 Lantai - Content from content.co.id
Ukuran besi untuk tiang rumah 2 lantai, cara menghitung kebutuhan besi untuk membangun rumah, ukuran besi untuk tiang rumah 1 lantai, ukuran gambar pondasi plat beton setempat construction sumber : Tiang rumah lantai 1 rencananya tingginya 4 denah rumah 2 lantai untuk 3 kamar tidur : Bentang kolom antar tiang biasanya memiliki jarak standar sekitar 3 hingga 4 meter dengan kondisi tanah yang normal atau keras. Ukuran kolom rumah 3 lantai. Kolom pedestal sebagai dudukan kolom baja wf ukuran 2540 besi tulangan diameter 13 ulir sni. Untuk menghitung kebutuhan besi beton maka kita perlu mengetahui diameter, hingga berat besi beton tersebut. Atau ada yang bilang pake besi h beam ane jg. Harga besi hollow berbagai ukuran oktober 2019 promo harga.

Terlebih, jika kolom tersebut diperuntukan untuk rumah 2 lantai.

Ukuran kolom rumah 3 lantai. Terlebih, jika kolom tersebut diperuntukan untuk rumah 2 lantai. Inspirasi 33 biaya membuat dapur ukuran 3x6 good little kitten my favorite cat educational games play. Kolom pedestal sebagai dudukan kolom baja wf ukuran 2540 besi tulangan diameter 13 ulir sni. Harga besi hollow berbagai ukuran oktober 2019 promo harga. Kolom untuk sebuah rumah 2 lantai biasanya memiliki ukuran 15 x 40 cm. Ukuran besi yang diperlukan untuk pondasi rumah 2 lantai biasanya yang memiliki diameter 12 mm. Berikut jarak cakar ayam rumah 2 lantai paling heboh kerja 2d arsitek kontraktor murah tata rancang konstruksi desain rumah: Cari tau ukuran keramik lantai anda dan temukan 7 motif keramik tren tahun 2020 lengkap harganya di sini. Ukuran besi untuk tiang rumah 2 lantai perlu disesuaikan dengan desain serta bentuk bangunan yang akan dibuat karena masing masing model bangunan akan memiliki beban yang berbeda sehingga bisa disesuaikan penggunaan tiang yang kuat tapi tetap ekonomis. Detail ukuran dan kedalaman pondasi cakar ayam untuk rumah 2 lantai & rumah 1 lantai harga pondasi cakar ayam dan plus minusnya. Ukuran besi untuk tiang rumah 2 lantai, cara menghitung kebutuhan besi untuk membangun rumah, ukuran besi untuk tiang rumah 1 lantai, ukuran gambar pondasi plat beton setempat construction sumber : Ukuran besi beton rumah 2 lantai pusat besi baja murah.

Posting Komentar

0 Komentar